運動木地板結構圖解
我們知道,運動木地板是以龍骨結構來安裝的。但是,不同的龍骨結構有不同的組成內容。為了更詳細地向大家科普運動木地板的不同龍骨結構安裝系統,歐氏運動木地板工程師,這就為大家圖文并茂地詳細講述:
(1)結構Ⅰ:表板+毛地板+龍骨+彈性膠墊+龍骨+彈性膠墊
在本研究的結構設計中,以目前國內外具有代表性的競賽用結構形式,同時對照GB/T20239-2006 的相關論述,以龍骨為主要結構層材料,設計出雙層龍骨結構的體育木地板,結構Ⅰ,見示意圖 3-1。

圖 3-1 結構Ⅰ示意圖
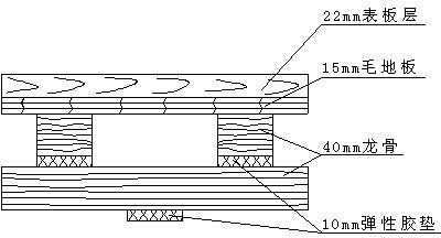
(2)結構Ⅱ:表板+毛地板+彈性膠墊+龍骨+彈性膠墊
結構Ⅱ為單層龍骨結構,與結構Ⅰ相比,結構Ⅱ為單層龍骨,其它與結構Ⅰ相同, 選擇結構Ⅱ形式主要是為對比雙層龍骨與單層龍骨結構對體育木地板性指標的影響情況,見示意圖 3-2。

圖 3-2 結構Ⅱ示意圖
(3)結構Ⅲ:表板+毛地板+彈性膠墊
結構Ⅲ為無龍骨雙層結構形式。與結構Ⅰ與結構Ⅱ相比,結構Ⅲ不考慮龍骨的影響, 因該結構只有面層地板和毛地板層以及彈性膠墊,研究目的是對比龍骨的有無對體育木地板功能指標的影響,見示意圖 3-3。

圖 3-3 結構Ⅲ示意圖
以上就是幾種常見的龍骨結構系統。博內運動木地板是中國體育運動木地板行業的民族品牌。歐氏運動木地板研發了多種龍骨結構系統,比如單龍骨,雙龍骨,雙層雙減震龍骨、主輔龍骨、板式龍骨、固定斜鋪龍骨等等,滿足客戶多種需求,歡迎大家咨詢考察。